合作客戶/
拜耳公司 |
同濟大學 |
聯合大學 |
美國保潔 |
美國強生 |
瑞士羅氏 |
相關新聞Info
推薦新聞Info
-
> 聚合物稠化劑(ASCM)合成條件、界面張力及耐鹽、耐剪切性能(二)
> 聚合物稠化劑(ASCM)合成條件、界面張力及耐鹽、耐剪切性能(一)
> 新型多羥基苯磺酸鹽驅油劑的界面張力優化及油田應用潛力分析(三)
> 新型多羥基苯磺酸鹽驅油劑的界面張力優化及油田應用潛力分析(二)
> 新型多羥基苯磺酸鹽驅油劑的界面張力優化及油田應用潛力分析(一)
> 基于最大氣泡壓力方法測量液態鋰錫合金表面張力
> 烷基糖苷表面活性劑界面張力與潤濕性相關性研究(二)
> 烷基糖苷表面活性劑界面張力與潤濕性相關性研究(一)
> 嵌段比例對溫敏聚合物表面張力的影響及臨界膠束濃度分析(五)
> 嵌段比例對溫敏聚合物表面張力的影響及臨界膠束濃度分析(四)
新型熱塑性材料注塑成型模具,克服熔體在流動過程中的表面張力和氣體阻礙
來源:新鄉市仲達塑膠電子有限公司 瀏覽 1064 次 發布時間:2024-07-11
新型熱塑性材料主要包括聚氯乙烯(PVC)、聚苯醚(PPO)、氯化聚醚等。通常具備優異的物理和化學性質,如低密度、高強度、良好的加工性能以及可回收性,新型熱塑性材料具有加熱軟化、冷卻硬化的特性,這種狀態可以多次反復,適合通過注塑成型進行加工。
目前,現有的注塑成型模具在使用過程中,由于新型熱塑性材料具有較高的熔體黏度,會增加熔體在模具內的流動阻力,使得熔體在填充階段難以充分到達型腔的所有角落,尤其是薄壁、深腔或復雜幾何形狀部位,導致填充不足,從而影響制品的整體尺寸精度,因此,本申請提供了一種新型熱塑性材料注塑成型模具來滿足需求。
一種新型熱塑性材料注塑成型模具,包括:上模具;下模具,設置在所述上模具的下方,作為模具的基本組成,上模具與下模具共同構成了成型空間,即型腔,用于接納熔融的新型熱塑性材料,并在其冷卻后形成所需形狀的制品;熱流部,設置在所述下模具內,用于熔體在恒溫狀態下流動;所述熱流部包括:熱流板,設置在所述下模具內;加熱絲,設置在所述熱流板內;阻隔板,設置在所述熱流板內,且位于所述加熱絲底部;通氣孔,設置在下模具上;流動通道,設置在所述下模具上,且靠近所述通氣孔;外接管,連通設置在所述流動通道上,用于模具使用抽取空氣,形成局部負壓環境。
還包括:收納槽,設置在所述上模具上;修整片,設在所述下模具上,且與所述收納槽相對應,用于修整成型注塑件。
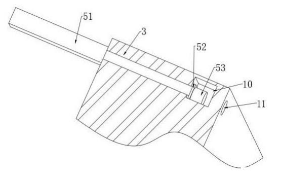
還包括:阻擋部,設置在所述下模具上,用于阻擋所述通氣孔;所述阻擋部包括:氣缸,設置在所述下模具上;密封圈,活動設置在所述流動通道內;阻擋塊,活動設置在所述密封圈上,且與所述通氣孔相吻合。
所述氣缸的輸出端延伸至流動通道內,且與所述密封圈連接。
還包括:若干放置槽,設置在所述下模具上;若干連接槽,設置在所述上模具上,且所述放置槽與所述連接槽相對應;若干電動伸縮桿,設置在所述放置槽內,且所述電動伸縮桿的輸出端延伸至所述連接槽內,并與所述上模具連接。
還包括:注塑口,設置在所述上模具上;出料液壓桿,設置在所述下模具上,用于注塑件排出。
還包括:檢測器,設置在所述外接管上。
圖1為新型熱塑性材料注塑成型模具結構示意圖;
1、上模具;2、注塑口;3、下模具;4、收納槽;5、阻擋部;6、外接管;7、檢測器;8、修整片;9、放置槽;10、流動通道;11、通氣孔;12、熱流部;13、出料液壓桿;14、連接槽;15、電動伸縮桿;51、氣缸;52、密封圈;53、阻擋塊;121、熱流板;122、加熱絲;123、阻隔板。
通過設置熱流部,使得新型熱塑性材料注塑成型時,提供熱量以保持熔體溫度,確保其黏度處于較低水平,提高流動性,通過設置外接管、流動通道和通氣孔,可將模具內部空氣抽出,減少熔體在模具內部的生成氣泡,同時在模具內形成負壓環境能夠幫助克服熔體在流動過程中的表面張力和氣體阻礙,負壓可以顯著增強熔體的推進能力,促進其深入填充難以到達的區域。





